Основные неисправности и способы их устранения
Если двигатель трактора Т-74 чрезмерно греется во время эксплуатации (основной причиной является нагревание масла в картере):
- Засорилось межреберное пространство (следует остановить двигатель и очистить его);
- Засорилась защитная сетка вентилятора (следует ее очистить);
- Слабое натяжение или обрыв ремня вентилятора (необходимо откорректировать его положение или заменить);
- Нехватка или чрезмерное количество смазочного материала (долейте или слейте его);
- Слишком большая нагрузка на мотор.
Следующие поломки могли привести к тому, что мотор не выдает необходимую мощность:
- Засорен фильтр топливной системы;
- Форсунки могут быть засорены или неисправны;
- Выход из строя топливного насоса.
Сфера применения машины

Трактор Т 74 изготовлен на раме из двух продольных швеллеров, связанных между собой поперечными балками. Он имеет переднее расположение двигателя и гусеничную ходовую часть. Трактор Т 74 предназначался для выполнения работ в сельском хозяйстве. Благодаря гусеничной ходовой части, машина не оказывает негативного влияния на плодородный слой почвы. По сравнению с трактором ДТ – 54, модель может работать с большим спектром навесного, полунавесного и прицепного оборудования. В зависимости от сферы деятельности, это дает возможность выполнять следующие виды работ:
- Сельское хозяйство. Трактор выполняет работы по обработке почвы, посеве и уборке урожая. Благодаря высоким показателям проходимости, можно использовать модель для выполнения работ на ранних весенних сроках;
- Строительство. Трактор используется для транспортировки тяжелых строительных грузов. Установка фронтального отвала позволяет выравнивать площадки;
- Коммунальная служба. Машина с фронтальным отвалом используется в зимнее время года для очистки поверхности от снежных масс;
- Промышленность. В промышленной сфере Т 74 применяется в качестве бульдозера.
Технические характеристики
Двигатель
| Характеристики двигателя | |
| Тип | СМД-14А, четырехцилиндровый четырехтактный дизельный |
| Система охлаждения | Водяная |
| Мощность | 75 лошадиных сил (55 кВт) |
| Объем | 6,33 литра |
| Ход поршня | 140 мм |
| Удельный расход топлива | 195 г\л.с.*ч |
| Емкость бака | 218 литров |
| Допустимый расход масла | Максимум 3% от расхода топлива |
| Порядок хода поршней | 1-3-2-4 |
| Компрессия двигателя | 17:1 |
| Направление вращения коленчатого вала, вид спереди | Справа |
| Скорость холостого хода | Максимально 600 оборотов в минуту |
| Максимальное число оборотов | 1830 оборотов в минуту |
| Стартер | Одноцилиндровый бензиновый типа ПД-10М-2 с электростартером |
| Масса двигателя | 675 кг |

Вид топлива и расход
Удельный расход топлива мотора составляет 195 г на лс в час. Для работы используется дизельное топливо. За 1 час работы с умеренной интенсивностью ориентировочно сжигается около 15 литров топлива.

Коробка передач
Трактор оборудован механической коробкой передач с двумя рычагами. Для увеличения скорости вращения и крутящего момента предусмотрено 6 положений КПП и реверс. Минимальная скорость составляет 2,5 км/ч, а максимальная — 11,6 км/ч. Скорость реверса составляет 5,65 км/ч.
Максимальная тяга составляет 29,4 килоньютонов. В некоторых моделях оснащена гидравлической системой.
| Скорость трактора в зависимости от передачи | |
| 1 передача | 4,51 км / ч |
| 2 передача | 5,32 км / ч |
| 3 передача | 6,53 км / ч |
| 4 передача | 8,01 км / ч |
| 5 передача | 9,46 км / ч |
| 6 передача | 11,60 км / ч |
| Реверс | 5,65 км / ч |
Трансмиссия
В тракторе Т74 установлена двухпоточный тип трансмиссии, таким образом осуществляется передача энергии на ходовую часть, что обеспечивает работоспособность навесного или другого оборудования.
Коробка переключения передач предусматривает 6 различных положений и работает в 4 режимах. Процесс выбора режима осуществляется благодаря 2 рычагам. Первый – разбивает передачи на рабочий, повышенный и нейтральные диапазоны. С помощью второго осуществляется переключение между передними, задними и нейтральными скоростями. Смена режима реализуется за счет гидромуфт.
На некоторых моделях предусмотрена установка понижающего редуктора с целью снижения частоты оборотов двигателя для увеличения потенциальной тяги.
Ходовая часть
Раму гусеничного трактора составляет 2 параллельно идущих лонжерона, соединенных между собой в трех местах передним брусом рамы, поперечинами и осью ведущих звездочек спереди, посередине и сзади соответственно. Главной особенностью ходовой части трактора Т74 является прикрепление всех узлов ходовой части на лонжероны. Направляющие колеса посажены на звенья кривошипно-шатунного механизма.
Благодаря особенностям конструкции балансирные каретки могут поворачиваться относительно подшипника цапф, таким образом ход трактора осуществляется с учетом особенностей рельефа местности, стараясь обеспечивать стабильность и комфорт работ.
Электрооборудование
Номинальное напряжение оборудования трактора составляет 12В.
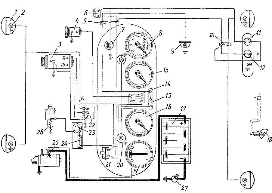
Схема электрооборудования
1.Фара. 2. Лампа накаливания. 3. Генератор электроэнергии 180В. 4. Электродвигатель. 5. Переходная трехконтактная панель. 6. Устройство подачи звукового сигнала. 7. Кнопка выключения звукового сигнала. 8. Прибор, измеряющий давление. 9. Лампа для освещения кабины. 10. Выключатель задних фар. 11. Устройство для включения прицепных фар. 12. Устройство для включения переносной лампы. 13, 16. Термометры. 14. Включатель фар спереди. 15. Переключатель ламп освещения кабины. 17. Батарея аккумулятора объемом на 42 амперчасов 18. Лампа. 19. Амперметр. 20. Лампы на приборной панели. 21. Предохранитель. 22. Реле регулятор напряжения. 23. Устройство для контроля температуры спирали. 24. Выключатель для предпускового подогревателя двигателя. 25. Стартер. 26. Предпусковой подогреватель мотора. 27. Включатель массы.
Новые танки России
2015 год стал праздничным для следящих за развитием отечественной бронетехникой. На Параде Победы продемонстрировали платформу Армата, давно будоражащую умы любителей танков. На её базе создан ОБТ Т-14 Армата с необитаемой башней, БМП Т-15 и несколько других образцов техники.
Также появись более лёгкие платформы: средняя гусеничная Курганец-25 и колёсная Бумеранг. Отличительными чертами новой техники является повышенная защита экипажа и унификация.
При создании Арматы был использован опыт разработки Т-95. Например, компоновка корпуса, наработки по автомату заряжания и броне.
В 2016 году должны пройти испытания новой техники её принятие на вооружение и серийное производство. Сложно говорить, насколько быстро она заменит устаревающие машины в армии, но в планах нашей страны выпустить 2300 Армат к 2020 году.
Т-14 «Армата»
Это самые перспективные русские танки, существующие на сегодняшний день. С завода они получают в оснащение аппаратуру ЕСУ ТЗ, это единый центр по управлению всеми объектами. Это первая в мире боевая машина, которая реализовала в своей конструкции замыслы «сетецентрической войны», другими словами, прежде всего она предназначена не только для ведения огня, но и разведки. Инновацией считается и необитаемая башня, а также установленная пушка с калибром 125 мм. В боекомплекте находится 45 снарядов, а еще в качестве вооружения танк Т 14 Армата может использовать ракеты.
Башня у «Арматы» имеет заниженный корпус, это заметно снижает все шансы на попадание по технике. У командира есть панорамный обзор, можно увидеть все, что происходит вокруг, это минимум, потому что в дополнении есть тепловизор, лазерный прицел и инфракрасный комплекс. Танк Т 14 армата может стать лидером в борьбе.
- Масса: 55 т
- Пушка: 125 мм (2А82)
- Мощность: 1800 л.с.
- Скорость: 82 км/ч
- Запас хода: 500 км
Характеристики и особенности танка “Армата”
“Армата” относится к четвертому поколению танков. В Т-14 реализована идея необитаемой башни, то есть экипаж находится вне ее. Внутри находится лишь боекомплект. Также в танке реализована сетецентрическая концепция, то есть возможность подчинения одной комплексной системе управления. Танк может решать различные сетецентрические задачи, к которым относится разведка и целеуказание, управление огнем и т.д. Разумеется Т-14 превосходит танки предыдущего поколения и боевой мощью. Эффективность стрельбы при этом более высокая за счет точности, а также скорострельности.
Танк Т-14 имеет необитаемую башню
В ходе боя машина автоматически определяет баллистические параметры для поражения цели или даже управления огнем всего тактического звена. Предполагается, что в будущем танк будет комплектоваться устройствами с ИИ для работы в автономном режиме.
Система управления тактическим звеном объединяет все боевые единицы при помощи систем взаимодействия. Она включает в себя одиннадцать подсистем, которые управляют средствами радиоэлектронной борьбы, системами ПВО, артиллерией, танками Т-90 и другими боевыми машинами.
Для управления огнем танк оснащен рядом средств, среди которых радары, HD-камеры, работающие в ультрафиолетовом излучении, и прочее оборудование. Самое интересное, что “Армата” также имеет на борту собственный БПЛА “Птеродактиль” для разведки и целеуказания. Беспилотник также оснащен передовым оборудованием для решения боевых задач.
Технические характеристики Т-72
Сравнение технических характеристик с британским танком Challenger 1 показывает, что советская машина имела вес на 20 тонн меньше. Кроме того, на «англичанине» применялась нарезная пушка калибром 120 мм, неспособная к пуску ракет. Да и распространенность Challenger (построено всего 420 машин) не идет ни в какое сравнение с Т-72.
| Т-72 | Challenger 1 | M1 Abrams | |
| Длина корпуса, мм | 6670 | — | 7925 |
| Длина общая (с развернутой вперед башней), мм | 9530 | 11500 | 9766 |
| Ширина по экранам, мм | 3460 | 3520 | 3653 |
| Высота, мм | 2190 | 2490 | 2400 |
| Боевая масса, кг | 41000 | 62000 | 54400 |
| Максимальная скорость движения по шоссе, км/час | 50 | 56 | 72 |
| Запас хода по шоссе, км | 700 | 400 | 480 |
| Высота преодолеваемой стенки, м | 0,85 | 0,9 | 1,24 |
| Ширина преодолеваемого рва, м | 2,8 | 2,8 | 2,74 |
Американский Abrams, оснащенный газотурбинным двигателем, заметно превосходит отечественную машину по скорости движения, уступая по дальности хода. На версии М1 применялась 105 мм нарезная пушка, уступавшая по характеристикам советской гладкоствольной. Позднее стало устанавливаться 120 мм гладкоствольное орудие, уравнявшее шансы соперников. Большим плюсом американских машин является система кондиционирования воздуха в боевых отделениях, снижающая утомляемость экипажей на маршах.
Этому способствуют многочисленные программы модернизации, которые позволяют повышать характеристики машины. Более того, существуют доработанные версии танка, предлагаемые для экспорта в страны НАТО.
Примером может служить украинский танк Т-72-120, оснащаемый 120 мм гладкоствольным орудием КБМ-2. И эта разработка далеко не единична. Поэтому можно с уверенностью сказать, что Т-72 продержится в боевом строю еще не один десяток лет.
Трактор Т-74

Т-74 отлично подходит для выполнения классических сельскохозяйственных работ: уборки урожая прицепными, полунавесными и навесными машинами и орудиями на больших скоростях или сплошной обработке грунта. Также трактор активно используется в дорожных, строительных и мелиоративных работах, в различных операциях в сельском хозяйстве и при перевозке массивных грузов в сложных условиях и на плохих дорогах.
Продукт Харьковского тракторного завода оказался весьма востребованным и производился в 5 модификациях:
- Т-74-С1 – оснащался раздельно-агрегатной гидравлической системой, 3 выносными и основным гидроцилиндрами и механизмом навески;
- Т-74-С9 – получил те же свойства, что Т-74-С1, но не имел механизма навески, выносных и основного цилиндров;
- Т-74-С4 – комплектовался механизмом навески, основным цилиндром и раздельно-агрегатной гидросистемой;
- Т-74-С3 – не имел агрегатов гидросистемы;
- Т-74-С2 – получил те же, что и Т-74-С1 отличия, но без механизма навески и основного цилиндра.
Сколько танков в России?
Конечно же точное количество боевой техники является военной тайной. Тем более количество вышедших из строя и переданных в войска из оборонных предприятий в течение последнего года (читай — СВО). Но подсчитать количество боевых единиц на основе открытых источников. Цифры где-то разнятся, но в общем погрешность не такая большая. Так, британское издание INEWS указывает цифру в 13 300 боевых машин. А вот известный агрегатор военных рейтингов GLOBALFIREPOWER рассказывает о 12 420 танках.
Интересный расчет произвел пользователь Живого журнала (Livejournal) altyn73. В своем материале он приводит цифру в 2685 единиц.
Видимо здесь не учитываются танки, находящиеся на хранении, то есть в воинских частях кадра. Во всем известной Википедии приводятся уже совершенно другие цифры. Посмотрите данную информацию в таблице.
| Модификация танка | Количество |
|---|---|
| Т-90М | 67 |
| Т-90 Т-90А | ~350 |
| Т-80У, БВ | 310 |
| Т-80БВМ | 170 |
| Т-72Б3 обр. 2016 | 530 |
| Т-72Б3 | 850 |
| Т-72Б, БА | 650 |
| ВСЕГО: | 2927 |
В этом варианте указано 2927 танков. Количество машин на хранении не раскрыто.
В итоге можно варьировать следующими цифрами: всего около 12 000-13 500 танков в Армии России. Из них в боевых подразделениях 2500-3000 единиц. Напоминаю, все расчеты взяты из открытых источников и, естественно, могут отличаться от реальных цифр.
Основные неисправности и способы их устранения
Основная масса проблем в работе Т74 связана с повреждением двигателя с топливной системой, в частности. Они могут связаны как с неправильной эксплуатацией, так и с низкой износоустойчивостью деталей.
Перегрев мотора
Чрезмерное перегревание двигателя может оказаться, как правило, следствием нагревания масла, однако существуют и другие причины.
| Основные причины и методы устранения | |
| Засорение межреберного пространства цилиндров и головок | Остановка и дальнейшая прочистка двигателя |
| Засор защитной сетки вентилятора | Очистка |
| Ослабление или повреждение ремня вентилятора | Заменить или изменить положение для усиления натяжения |
| Дефицит или избыток смазки | Откорректировать количество |
| Большие объемы нагрузок на двигатель | Снизить интенсивность работы |
Потеря мощности мотора
Может наблюдаться снижение мощности двигателя.
| Основные причины и методы устранения | |
| Снижение объемов подачи топлива из-за повреждения тяги управления топливным насосом | Откорректировать тягу управления |
| Загрязнение фильтра очистки горючего | Замена фильтрующего элемента |
| Засорение, повреждение форсунок | Замена, прочистка |
| Нарушение угла подачи топлива | Отрегулировать и восстановить необходимый угол впрыска |
| Загрязнение воздухоочистителя | Проведение очистки, замены |
Неустойчивость работы мотора во время холостого хода
| Основные причины и методы устранения | |
| Проникновение воздуха в систему подачи топлива | Убрать воздух |
| Проблема в пружине холостого хода | Регулировка, замена |
| Повреждение насоса | Ремонт или замена |
Устройство Т 74
При создании ДТ 74 брали за основу тракторные агрегаты Т-75, ДТ-54. Рама агрегата швеллерная, швеллеры продольного типа соединяются при помощи бруса спереди, ось соединяет их сзади.Брусья поперечного крепления соединяют швеллеры по центру рамы.Спереди рамы установлен мотор, сзади установлена кабина. Система сцепления двухдисковая. Коробка передач сделана с механическим переключением, предусмотрено 6 ступеней передач. Этой коробкой управляют два рычага:
| Рычаг | Первый | Второй |
| Нейтральная передача | + | + |
| Рабочие передачи | + | — |
| Повышенные передачи | + | — |
| Передача движения назад | — | + |
| Передачи движения вперед (3 шт.) | — | + |
При выключенной передаче, сначала включаем ее, а потом включаем группу передач.

Остов трактора Т 74
Танки 30-40 годов – болезнь подражания
Участие в конфликте на КФЖД показало несоответствие танков первого поколения для динамического развития боя, танки практически ничем себя не проявили, основную работу сделала кавалерия. Нужна была более скоростная и надежная машина.
Для выбора следующей серийной модели пошли проторенным путем и закупили образцы за границей. Английский Vickers Mk – 6 тонн у нас серийно выпускался как Т-26, а танкетка Carden-Loyd Mk VI – Т-27.
Т-27, по началу такой заманчивый в производстве своей дешевизной, выпускался не долго. В 1933 на базе танкетки приняли для армии
плавающий танк Т-37А, с вооружением во вращающейся башне, а в 1936 – Т-38. В 1940 году создали подобный плавающий Т-40, больше плавающих танков до 50-х годов СССР не выпускало.
Еще один образец закупили в США. На основе модели Дж.У.Кристи была построена целая серия быстроходных танков (БТ), главным их отличием было совмещение двух движителей колесного и гусеничного. Для перемещения при марше БТ использовали колеса, при ведении боев пользовались гусеницами. Такая вынужденная мера нужна была из-за слабых эксплутационных возможности гусениц, всего 1000 км.
Танки БТ, развивающие на дорогах довольно высокую скорость, полностью подходили под изменившуюся военную концепцию Красной армии: прорыв обороны и через образовавшуюся брешь скоростное развертывание глубинной атаки. Непосредственно для прорыва разработан трехбашенный Т-28, прототипом которому послужил английский «Виккерс 16-тонный». Еще одним танком прорыва должен был случить Т-35 похожий на английский пятибашенный тяжёлый танк «Independent».
За предвоенное десятилетие создано много интересных конструкций танков, которые не пошли в серию. Например, на базе Т-26
самоходная установка полузакрытого типа АТ-1 (артиллерийский танк). Во время ВОВ снова вспомнят об этих машинах без крыши рубки.
Двигатель ОБТ Т-90 “Владимир”
Т-90 ранних модификаций оснащены V-образным 12-цилиндровым четырёхтактным многотопливным дизельным двигателеммодели В-84МС жидкостного охлаждения с непосредственным впрыском топлива и приводным центробежным нагнетателем. В-84МС развивает максимальную мощность в 840 л.с. при 2000 об/мин.
На Т-90 поздних выпусков, Т-90А,С устанавливается двигатель модели В-92С2, представляющий собой модернизированный В-84 и отличающийся от него установкой турбокомпрессора и улучшенной конструкцией, что позволило повысить развиваемую двигателем мощность до 1000 л.с. при 2000 об/мин.
На новой модификации танка Т-90М установлен форсированный V-образный двигатель под индексом В-92С2Ф (он же В-93) мощностью 1130 л.с. Также прорабатывается вариант установки нового Х-образного дизеля В-99 (развитие серии 2В) мощностью 1200-1400 л. с.
Технические характеристики двигателей для ОБТ Т-90
| Характеристика | Двигатель | |
| Модель двигателя | В-92С2 | В-92С2Ф (В-93) |
| Тип двигателя | 4-х тактный, Ѵ-образный, 12-цилиндровый многотопливный дизельный двигатель жидкостного охлаждения с газотурбинным наддувом | |
| Система смесеобразования | Непосредственный впрыск топлива | |
| Мощность двигателя, кВт (л.с.) | 736 (1000) | 831 (1130) |
| Запас по крутящему моменту, % | 25 | |
| Частота вращения, с-1 (об/мин) | 33,3 (2000) | |
| Диаметр цилиндра, мм | 150 | |
| Ход поршня, главный (прицепной), мм | 180(186,7) | |
| Рабочий объем, л | 38,88 | |
| Удельный расход топлива, г/кВт.ч (г/л.с.ч), (минимальный) | 212 (156) | 215(158) |
| Ресурс, час | 1200 | 1000 |
| Масса, кг | 1020 | 1100 |
| Удельная мощность, кВт/кг (л.с./кг) | 0,72 (0,98) | 0,78 (1,07) |
| Максимальный крутящий момент, Н.м (кг.м) | 3920 (400) | 4521(461) |
| Минимальная температура холодного пуска | -20°С | |
| Рабочая температура окружающего воздуха | от – 50 °С до +50 °С | |
| Относительная влажность воздуха | 98% при 20 °С | |
| Высота над уровнем моря, м | до 3000 |
В шаге от полной автоматизации
Большинство процессов в Т-14 ведется в автоматическом режиме. В танке есть встроенная система диагностирования, сообщающая о неполадках. Сообщение выводится на экран и дублируется приятным женским голосом. Следующий шаг – создание полностью роботизированных танковых подразделений.
На форуме «Армия-2020» представители УВЗ рассказали, что по заказу Минобороны уже проводятся научно-исследовательские работы по такому перспективному направлению, как создание роботизированных боевых машин переднего края. В том числе в рамках этих работ в автоматическом режиме тестировался и танк Т-14. Появление беспилотных машин такого класса, которое ожидается в ближайшие годы, может существенно изменить тактику ведения боя, принятую сегодня.
Те, кто уже успел побывать в отделении управления «Арматы» и взять в руки штурвал, отмечают легкость управления танка, плавность его хода. Удивительно, что при таких габаритах и внешней мощи, Т-14 очень послушен и отзывчив для оператора. Одно из преимуществ необитаемой башни и отдельной бронированной капсулы для управления – весь экипаж на виду у друг друга, и команда использует эту возможность для эффективного общения. При выполнении задания экипаж часто подолгу находится внутри машины, поэтому конструкторы заложили повышенный уровень комфорта для команды. А кроме того, Т-14 попросту очень красив.
Еще не принятый на вооружение армии РФ танк уже давно обсуждают эксперты всего мира. В рейтингах лучших боевых машин он неизменно занимает лидирующие места. По словам Дениса Мантурова, «Армата» может быть принята на вооружение уже в конце текущего – начале следующего года. Только после этого станут возможны экспортные поставки Т-14. А очередь из желающих купить танк, определивший будущее танкостроения на ближайшие 15-20 лет, гарантирована.
Устройство
Кабина
Цельнометаллическая кабина расположена в задней части трактора. Предусмотрено 2 сидячих места без возможности скорректировать положение спинки. Поддержание температуры осуществляется за счет работы мотора. Температурный режим регулируется заслонкой. Система вентиляции не предусмотрена, поэтому движение воздуха происходит через естественные отверстия в кабине, окна.
Комплектация
Помимо машины содержали:
- Вал отбора мощностей (ВОМ);
- Трехзолотниковый гидрораспределитель;
- Гидравлическая система раздельноагрегатного типа;
- Устройство для монтажа навесного дополнительного оборудования.
Так же используется дополнительное оборудование, направленное на повышение комфорта во время работы: осветительные лампы, фары, регулировка температуры, выключатели, наличие переносных осветительных приборов, источник звукового сигнала и так далее.
Габаритные размеры
- Длина: 3825-4225 мм;
- Ширина: 1845 мм;
- Высота: 2325 мм;
- Дорожный просвет: 280 мм;
- Ширина колеи: 1435 мм;
- Колесная база между звездочками: 1622 мм;
- Масса: в зависимости от модификации, составляет 5400-5860 кг;
- Удельное давление на грунт: 0,42 кг\см2.
Механизмы управления на тракторе
Переключение между передачами осуществляется одним из рычагов. Маневрирование обеспечивается торможением одной из гусениц и сменой положения рычагов. Особенностями использования различных скоростей являются:
- 1 передача (4,51 км / ч) – пахотные работы;
- 2,3,4 – другие сельскохозяйственные работы;
- 4,5 – транспортировка, буксировка необходимость в использовании дополнительной техники.

Технические характеристики Т 74
- Встроен двигатель СМД-14А, мощность 75 л.с.
- При движении агрегата на покрытие грунта оказывается давление в размере 420 грамм на см2.
- Полный вес 5 910 кг.
- Движение агрегата осуществляется со скоростью от 4,5 до 11,6 км за час.
- Объемная вместимость бака 218 литров топлива при полной заправке.
- Габариты 2 325 х 1 845 х 4 225 мм.
- Показатель дорожного просвета 280 мм.
- Колея между колесами составляет 1 435 мм.
Двигатель СМД 14А
Работает на дизельном топливе, камера сгорания – вихревая. Выдаваемое количество оборотов насчитывает 1 830 циклов в минуту. Рабочих цилиндров четыре, установлены в один ряд.
Комплектуется циклонным очистителем воздуха, к которому подсоединена отсосная трубка, встроенная в трубу вывода выхлопного газового потока. В отсосной трубе формируется разряженная пыль, которая оседает в бункере воздушного очистителя. Облако пыли соединяется с газами выхлопа, после чего покидает газовую систему техники ХТЗ.
В смазочной системе работает масляный радиаторный механизм. Его можно выключить зимой через переустановку переключателя. Запускается СМД 14А при заморозках при помощи предпускового подогревателя. Место крепежа – поверхность коллектора всасывающего типа действия. Устройство для пуска ПД-10М-2 изготавливается с редуктором одноступенчатого вида. Рабочий процесс ведется на бензине.
На фото Т 74 выглядит настоящим раритетом:
Кабина ХТЗ 74
Закрытая кабина установлена на задней поверхности рамы. Внутри установлено сиденье для двух работников, спинка сидения на ощупь мягкая. Обогрев кабины осуществляется через воздуховод от работающего мотора. Обогреваемый поток воздуха движется по кожуху, а внутренним регулятором потока теплого воздуха является заслонка. Летом заслонку закрывают для прекращения подачи теплого потока. Для очищения правого лобового стекла предусмотрен ручной очиститель.
Вид топлива и расход
Мотор работает при сжигании дизельного топлива. Расчет сжигания топлива рассчитывается по формуле: 1 лошадиная сила потребляет 195 грамм горючего за рабочий час.
Общий показатель расхода исчисляется 14,6 литрами за час работы.
Модификации
Трактор Т-74 неплохо зарекомендовал себя при выполнении различных работ. Поэтому производители несколько раз модернизировали эту модель. Основные технические характеристики оставались неизменными.
В основном дорабатывалась гидравлическая система для работы с навесным и прицепным оборудованием. Это повлияло на габариты машин. Всего было выпущено 5 различных версий трактора.
Модель С1
Трактор оснащался раздельной системой гидравлики. Это выразилось в установке четырёх силовых цилиндров: один стационарный и три выносных. Поставлялся и механизм для установки навесного оборудования. Масса машины – 5 770 килограмм.
Модель С2
Конструкторы убрали основной цилиндр и механизм для установки оборудования. Это позволило снизить массу трактора до 5 520 килограмм.
Модель С3
В этом варианте производители попробовали убрать отдельные составляющие системы гидравлики. В итоге вес машины – 5 400 кг.
Подводя итог
Изначально упор в конструкции Т-74 делался на ремонтопригодность. А потому встречаются работоспособные машины даже ранних годов выпуска.
Разумеется, узлы и агрегаты на них могут быть заменены на новые. Поэтому обращают не на возраст техники, а на состояние.
Проблемы с запасными частями существуют, эксплуатация некогда популярной модели сопряжена с трудностями. Расход топлива приемлемый для своего времени, по теперешним временам вряд ли можно назвать умеренным.
Если заинтересовало описание трактора Т-74, и проявляете практический, или чисто экономический интерес к истории и устройству, оставайтесь на нашем сайте.
Изучив другие статьи, узнаете как устроен трактор Т-150, как проводится регулировка клапанов Т-25.





































