Как правильно подогнать ружье для стрельбы влет — Охотники.ру
Как гласит охотничья поговорка, «Ружье стреляет, а ложа попадает». Правильно подогнанная ложа или подобранное ружье – залог успешной стрельбы на охоте.
 
При вскидке, прикладывании ружья, затыльник должен быть расположен достаточно высоко в плечевой впадине.
Боковой отвод, высота гребня и вертикальный погиб должны обеспечивать такую постановку головы, чтобы взгляд через прицельную планку был как можно прямее, а не исподлобья.
Прицельная планка практически закрыта, мушка находится посередине планки. Голова не завалена в сторону ложи.
Прямой взгляд обеспечивает правильное определение расстояния, направление движения и скорость цели, особенно при плохой видимости. Такая постановка головы отчасти обеспечивается увеличением питча – угла наклона ружья вниз от 10 см и более.
Измерить питч можно поставив ружье в дверной проем вертикально, чтобы затыльник плотно стоял на полу, а стволы у колодки касались дверного косяка, тогда расстояние от косяка до мушки будет величина питча.
При нарушении баланса (центр тяжести ружья 60 – 70 мм от казенного среза стволов) можно выбрать внутреннюю часть ложи со стороны затыльника. Впрочем, незначительное нарушение баланса вполне допустимо.
- Отпиливание ложи требует большой аккуратности, хорошего инструмента и предварительной разметки.
- Длина ложи, обычно определяемая длиной руки в предплечье, согнутой в локте под прямым углом на уровне плеч, когда указательный палец касается первого спуска, не всегда целесообразен.
- Читайте материал Различия охотника и стрелка на охоте
Для практической охоты не следует гнаться за длинной ложей, желательно применять такую длину ложи, чтобы после вскидки щека расположилось в 2 – 5 см от начала гребня ложи. При этом не тяните голову вперед и смотрите прямо.
Обратите внимание на то, что длина ложи зависит от соотношения длины шеи и рук охотника. Что-то похожее на ложу «монте-карло», только без выступа под щеку
Уменьшить высоту гребня с последующим восстановлением покрытия ложи, особенно у современного импортного ружья в домашних условиях довольно сложно, а нарастить гребень может только хороший мастер
Что-то похожее на ложу «монте-карло», только без выступа под щеку. Уменьшить высоту гребня с последующим восстановлением покрытия ложи, особенно у современного импортного ружья в домашних условиях довольно сложно, а нарастить гребень может только хороший мастер.
|  | 
| Fotolia.com | 
Правильный боковой отвод обеспечивает при вскидке, положение мушки посередине прицельной планки. Величина отвода зависит от ширины плеч и манеры держать ружье.
Изменить величину бокового отвода даже в ружейной мастерской сложно, а у отдельных ружей из-за особенностей конструкции невозможно. Поэтому, приобретая новое ружье, рассмотрите возможность последующей подгонки, воспользуйтесь советом надежного опытного мастера.
Если ложа сильно не подходит по всем параметрам и трудно изготовить ложу на заказ, воздержитесь от приобретения такого ружья.
Читайте материал Дульные насадки и стрельба влет
Приведу ряд приемов, позволяющих пользоваться в большинстве случаев стандартной ложей. Обычно у стандартной ложи высота гребня уменьшается к пятке затыльника. Поэтому, изменяя длину ложи при рекомендуемом питче, найдите такое место на гребне, где обеспечивается вышеуказанная постановка головы и линия прицеливания.
Если ложа немного длинна или мушка находится не посередине, а слева от оси прицельной планки, уменьшите при вскидке и вкладке ружья в плечо угол между ружьем и линией плеч. Увеличивая угол, получите обратный результат.
Если приклад немного коротковат, перенесите руку на цевье вперед, если длинен – наоборот. Изменить питч и длину ложи, запастись 2-3 прокладками под затыльник или амортизатор, в зависимости от толщины одежды, обеспечивающими постановку головы на одном и том же месте гребня, под силу любому охотнику даже дома.
Юрий Константинов 21 мая 2017 в 10:53
Какие погрешности можно допускать при выборе очков?
Размер очков — это не абсолютная величина. При их выборе возможно допустить некоторые отклонения от истинных значений:
- ширина линзы может быть больше или меньше на 5 мм;
- в длине заушника допустимо расхождение в большую сторону до 5 мм;
- ширина моста не должна отклоняться от значения более 1 мм;
- общая ширина очков не должна превышать ширину лица более чем на 2-3 мм (исключение составляют модели «оверсайз»).
Например, если Ваши старые очки имеют параметры 52-18-135, то теоретически подойдут модели со значениями 50-19-140 или 55-17-130. Однако важным моментом при подборе очков является также их назначение. Солнцезащитная оптика не имеет диоптрий, и выбор дизайна в этом случае может быть более свободный. При покупке очков для коррекции зрения следует придерживаться значений, указанных в рецепте.
Как использовать прибор Даль
При нажатии кнопки “Измерение” на дисплее высветится номер прибора, а затем напряжение батареи питания в вольтах. Если напряжение меньше 5 Вольт, то батарейки нужно заменить.
Дальше кратковременным нажатием кнопки “Режим” определим значение температуры окружающего воздуха.
Если меньше 0, то переключатель остаётся в положении I. Если больше, то переводим его в II.

Установим прибор Даль на ровную поверхность под провода ВЛ, так чтобы его не перекрывали ветки деревьев, выступающие части зданий и т. п.
Нажмём кнопку “Измерение” и удерживаем пока на дисплее не появится устойчивое расстояние до провода, в метрах.
Если до провода менее 3,5 метра, то на дисплее будет (____). Если более максимального измеряемого прибором, то ( _ и три верхних слеша).
На ВЛ 35 кВ и выше каждый провод замеряется отдельно. Если провода близко друг к другу как на ВЛ 0,4 или 6-10 кВ, то одним замером прибор Даль показывает расстояние до всех нижних проводов.
Если нужно замерить габарит пересечения двух ВЛ, то сначала замеряем относительно земли одну, потом другую. Из разницы значений получим искомый габарит.
Прибор боится влаги. При дожде, снегопаде, тумане его не используем.
Ещё паспорт запрещает использование прибора при ветре более 10 м/с, но по факту провести измерения удаётся только в штиль, или в паузе между порывами ветра.
Кнопки “Выключить” нет, через 30 секунд бездействия прибор переходит в спящий режим.
Номинальный срок службы 6 лет. Калибровку проходит раз в год.
Результаты измерения (габариты и стрела провеса проводов) фиксируются в специальном бланке и подшиваются к паспорту ВЛ.
Всем добра.
Подгонка ложа для стрельбы влёт
 
Без преувеличений большую роль в параметрах точной стрельбы играет правильно подогнанное ложе. Особенно, если речь идёт о стрельбе влёт. Недаром охотничья поговорка так и гласит: оружие стреляет — ложе попадает.
Параметры ложа
Согласно охотничьей науке, затыльник при прикладывании и
 вскидке оружия должен расположиться непосредственно в плечевой впадине.
 Вертикальный прогиб ложа, высота его гребня и боковой отвод должны гарантировать
 правильную постановку головы, при которой взгляд сквозь прицельную планку будет
 не исподлобья, а прямым. Мушка должна располагаться посередине планки, прицельная
- планка быть практически закрытой.
- При правильной подгонке ложи голова не будет заваливаться в
 ее сторону. Взгляд будет обеспечивать корректное определение расстояния, скорость
- и направление движения цели, особенно если недостаточно освещения.
- Подгонка ложи
На правильную постановку ружья для стрельбы влёт влияет
 такой параметр как питч – угол наклона оружия вниз. В большинстве случаев
 оружие продаётся стандартных размеров.
 Зато каждый охотник имеет уникальные
 антропометрические параметры. Хорошо, если пропорции ружья и ложа удачно
 вписались под стрелка. Но нередко длина ложа избыточна или недостаточна.
 Во
 втором случае проблема решается кардинально – заменой ложа или даже оружия. При
избыточной длине проблему можно исправить самостоятельно подгонкой ложа.
и будет величиной питча.
Добиваются необходимого питча (угла наклона) при избыточной
 длине ложи подкладыванием деревянного клинышка под затыльник ружья или отпиливанием
 приклада под требуемым углом.
 Такие действия могут нарушить баланс оружия (центр
 тяжести 60-70 миллиметров от казённого среза стволов). Привести его в
 равновесие можно выборкой со стороны затыльника внутренней части ложа.
 Перед
 отпиливанием ложи подбирается острый надёжный инструментарий и предварительная
разметка.
 При этом рука в момент
 измерения должна быть под прямым углом согнута в локте на уровне плеч, а указательный
 палец должен касаться первого (если их два) спускового крючка. Так вот, при
 стрельбе влёт многие опытные охотники эту формулу считают нецелесообразной.
 На
 практике длинная ложа не всегда эффективна. Размер ложи должен быть таким,
 чтобы после вскидки ружья щека стрелка оказалась в 2-5 сантиметрах от начала
гребня ложи.
При подборе длины ложи этим методом важна правильная поза.
 Прослеживается прямая зависимость между соотношением длины руки и шеи стрелка.
 Надо смотреть строго прямо и не вытягивать голову вперёд. При уверенном касании
 щекой приклада прицельная планка должна быть или чуть приоткрытой (максимум на
 1 мм), или полностью закрытой.
Идеальная форма приближается к форме ложи типа
«монте-карло», но без характерного выступа под щёку.
Эти манипуляции скорее пригодны для отечественного
 охотничьего оружия. Ведь на дорогом импортном ружье жалко срезать гребень –
 нарушится сложное защитное покрытие. Тем более, когда ложа сделана не из
 дерева, а из синтетического материала. Если требуется нарастить гребень, то
лучше обратиться в мастерскую.
Следующий важный элемент стрельбы влёт – боковой отвод. При
 правильном боковом отводе при вскидке мушка оказывается посередине прицельной
 планки.
 Величину отвода подбирают в зависимости от индивидуальной манеры
 держать оружие с учётом ширины плеч охотника. Однако самостоятельно подогнать величину
 бокового отвода проблематично.
- размерами.
- Подгонка ложа производится строго под конкретного человека и
 для конкретного оружия. Только в этом случае стрельба влёт будет наиболее
- эффективной.
-  Как пользоваться
 стандартной ложей?
Но что делать, если нет времени строгать и пилить? В этом
 случае подгоняют не размеры ложа, а изготовку стрелка. У стандартных лож обычно
 высота гребня уменьшается в сторону пятки затыльника. Если это так,
 то рекомендуется практически подобрать место на гребне, в котором и линия
 прицеливания будет оптимальной, и постановка головы правильной (описано выше).
- Полезно поэкспериментировать с питчем и длиной ложи.
- Когда ложе длинновато или мушка смещена влево от оси
 прицельной планки, рекомендуется при вскидке для стрельбы влёт уменьшить угол
 между линией плеч и оружием. Если требуется произвести корректировку
- прицеливания в обратную сторону, угол между плечами и ружьём увеличивают.
Если приклад немного длинный, руку на цевье смещают назад.
 Если приклад коротковат, руку смещают вперёд.
- Рекомендуется в холодный период применять затыльники, а в
 тёплый – резиновые амортизаторы.
- Для улучшения компонента стрельбы влёт достаточно ещё перед
 охотой подготовить амортизатор, пару прокладок под затыльник, подогнать длину
- ложи и питч с учётом толщины одежды (она тоже влияет на результат).
Скорость выстрела
Скорость гораздо проще анализировать, чем баланс или поводку, её можно измерить с помощью прибора. По словам Блэйзека, для стволов с длиной от 20 до 32 дюймв – а это подавляющая часть охотничьих ружей – прирост скорости составляет около 3 метров в в секунду на каждые 5 сантиметров длины ствола для стандартных зарядов, и почти 4,5 метра в секунду на 5 сантиметров длины для патронов «магнум». Так что разница между 20 и 32-дюймовыми стволами составит 18 метров в секунду для слабых спортивных зарядов – отличие, которое сложно назвать значительным даже для крайних случаев.
Но я хотел проверить теоретические выкладки с помощью приборов, поэтмоу собрал ружья 20 и 12 калибра со стволами длиной от 24 до 28 дюймов. В каждом ружье я использовал одинаковые патроны (Winchester AA Super Sport для ружей 12 калибра, Baschieri & Pellagri Dove & Quail для 20 калибра), все стволы, участвовавшие в тесте, для повышения стабильности имели дульное сужение «цилиндр с напором». Скорость измерялась на расстоянии 30 сантиметров от дула с помощью специального прибора. Вот полученные результаты:

Как вы можете видеть, скорость не сильно меняется с изменением длины ствола.
Определение приладистости ложи ружья
Определение прикладистости ложа с помощью картонного щитка, надеваемого на наивысшую точку ружья, величины смещения мушки влево от центра планки, с помощью геометрического построения отрезка ДК, размер которого дает нужную величину отвода ложа вправо, к сожалению, не совсем точен. Хотя в охотничьей литературе предлагают использовать именно этот способ. Хотя бы потому, что с его помощью, мы, к примеру, можем определить, что необходим отвод на 15 миллиметров, но как сделать ложа с найденной величиной отвода. Да, и тогда он будет ещё прямее?

А, как быть в ситуации, когда необходимо определить нужный отвод, но у нас ружье со слишком отведенной ложей? На эти вопросы, к сожалению, нет ответа, да и выводы, даже из правильных предпосылок, в этом способе оказываются не слишком точными. Так как, найденная величина – далеко не необходимый нам отвод, а тот, который нужен для внесения поправок к имеющейся ложе. Тогда как, отрезок ДК может показать, насколько необходимо увеличить отвод, если он недостаточен – когда при правильной прикладке мушка уходит влево. Если же ложа будет отведена вправо больше, чем нужно – в этом случае мушка сместится влево, то отрезок ДТ даст величину, на которую отвод стоит уменьшить. Значит, для определения абсолютного значения нужного нам отвода, необходимо ещё измерить отвод ложа у ружья, подвергающегося испытаниям. Сделать это можно несколькими способами.
Измерение отвода ложа у ружья
Ружье устанавливают горизонтально вверх планкой. К стволам прикрепляют (привязывают нитками) длинную линейку так, чтобы она немного выступала за затылок приклада.

 Ребро линейки должно проходить точно по середине прицельной планки. А задней части гребня приклада, у его пятки, опускают отвес. Кратчайшее расстояние от нити отвеса до боковой поверхности линейки, проходящей по центру планки, и будет отводом имеющегося у нас ложа. Таким образом, используя известный нам метод и приведенные выше дополнения, каждый охотник сможет самостоятельно определить вертикальный изгиб и боковой отвод прикладистого для него ложа. Остается только найти необходимый отвод приклада от вертикали в его носке. Почему-то этому вопросу всегда уделяют мало внимания, а ведь сваливание ружья зависит именно от этого, и очень часто именно по этой причине возникают горькие промахи.
Как определить отвод приклада в носке
Определение отвода приклада в носке лучше производить с помощником. Для этого вам понадобиться большой лист бумаги. Его, с проведенной в его верхней части прямой и прочерченным в средней её части установочным перпендикуляром, укрепляют на стене на уровне лица охотника, проводящего испытание, с условием, что контрольная прямая займет строго горизонтальное положение. Это достигается с помощью отвеса, совмещаемого с установочным перпендикуляром. Затем охотник, определяющий отвод, становится от листа бумаги на таком расстоянии, чтобы от дульного среза ружья, вложенного в плечо, был просвет в 2-3 сантиметра. Закрываются глаза, при открытых глазах, как показывает практика, получается непроизвольная поправка, производится прикладка в плечо, охотник следит за тем, чтобы приклад занял в плече удобное и непринужденное положение, он чуть наклоняется вперёд, прижимая стволы к листу. Помощник охотника в это время тщательно очерчивает карандашом верхний контур стволов.
 Подобные действия проводятся несколько раз. После этого получившиеся от верхних контуров стволов дуги – смотрите рисунок 2, соединяют касательной прямой, а её пересекают линией параллельной контрольной прямой, нанесенной в верхней части листа бумаги. После этого проводится измерение полученных углов для всех прикладок и находится их средняя величина. Если ружье заваливается влево, то отвод носка приклада стоит увеличить на найденное значение угла. Если же ружьё заваливается вправо – то, его стоит уменьшить.
Подобные действия проводятся несколько раз. После этого получившиеся от верхних контуров стволов дуги – смотрите рисунок 2, соединяют касательной прямой, а её пересекают линией параллельной контрольной прямой, нанесенной в верхней части листа бумаги. После этого проводится измерение полученных углов для всех прикладок и находится их средняя величина. Если ружье заваливается влево, то отвод носка приклада стоит увеличить на найденное значение угла. Если же ружьё заваливается вправо – то, его стоит уменьшить.
Однако, очень важно, прежде, чем производить опыты по определению вертикального изгиба и бокового отвода ложа, его необходимо отрегулировать по длине руки стрелка. Длину эту определяют общеизвестным способом, когда середину затылка приклада устанавливают у локтевого сгиба руки, а указательный палец, накладываемый на передний спусковой крючок, касается его серединой первой фаланги
Методы измерения габаритов и стрелы провеса проводов ВЛ
Раньше монтёры проводили измерения системой реек, которые подвешивались на провода у изоляторов по обеим сторонам пролёта.
Передвигая ползунок по линейке монтёр совмещал его с максимальным провисом провода и получал значение стрелы провеса.

Поскольку данный метод не обеспечивал допустимых расстояний, от человека до токоведущих частей, замеры выполнялись на отключённых ВЛ.
Также на отключённой и заземлённой ВЛ, при наличии АГП, можно подняться прямо в цент пролёта и померить габариты рулеткой или лазерным дальномером.
Но не всегда есть возможность обесточить потребителей, к тому же это долго: вывод ВЛ в ремонт, допуск и, по завершении замеров, ввод в работу.
Поэтому мне ближе методы замеров без отключения ВЛ:
1. Геометрический – Вы должны быть на некотором удалении от ВЛ. Тогда между Вами, точкой максимального провиса проводов и землёй под этой точкой будет треугольник.

Так как Tangens угла в прямоугольном треугольнике равен отношению противолежащего катета к прилежащему, найдём противолежащий катет из произведения Тангенса угла и прилежащего катета.
Если стать так, чтобы этот угол был 45 градусов, то его Тангенс будет единицей. Отсюда следует, что расстояние от Вас до точки на земле под проводом будет равно габариту провода.
Рулетка далеко? Замерим.
2. Ультразвуковой – его мы рассмотрим на примере прибора Даль.
Замеры и расчеты перед подгонкой
 
Прежде чем начать подгонку приклада охотничьего ружья своими руками следует снять основные размеры человека, который будет стрелять из ружья:
- Во-первых, следует измерить расстояние между бицепсом и первой фалангой указательного пальца. При этом руку нужно согнуть под 90° в локте, а затем поднять ее вверх.
- Во-вторых, следует померить ширину груди стрелка. Этот параметр можно измерить, расположив линейку между подмышечными впадинами.
- Третий параметр – это расстояние между зрачком глаза и ключицей.
Во время подгонки приклада охотничьего ружья следует знать, что его длина должна совпадать со значением первого замеряемого параметра. Размер вертикального отгиба и бокового отвода можно определить по таблице.
| Расстояние между зрачком и ключицей, см | Размер от вертикального отгиба до верхнего гребня приклада, мм | Ширина груди, см | Размер между боковым отводом до вертикальной плоскости прицеливания, мм | ||
| У шейки приклада | У затыльника приклада | В пятке затылка приклада | В носке затыльника | ||
| 23 | 43 | 68 | 51 | 6 | 18 | 
| 20 | 40 | 64 | 45 | 4,5 | 15 | 
| 18 | 36 | 59 | 41 | 3,5 | 12 | 
| 16 | 34 | 57 | 37 | 2,5 | 8 | 
| 14 | 32 | 54 | 33 | 1,5 | 4 | 
Охотникам, которые задаются вопросом, как подогнать приклад под себя и с чего начать, следует знать, что в таблице, расположенной выше, указаны приблизительные параметры. Они могут отличаться от реальных размеров в зависимости от изготовки стрелка, его физических данных, предпочтениях и прочего. Табличные значения в различных пособиях по самостоятельной подгонке приклада также разнятся. Кроме того, стандартные размеры у прикладов Российского, Европейского и Американского производства значительно отличаются.
ГОСТ Р 21.1101-2013 СПДС. Основные требования к проектной и рабочей документации
Данный ГОСТ устанавливает основные требования к проектной и рабочей документации для строительства объектов различного назначения.
Требования к нанесению размеров указаны в разделе 5.4 ГОСТ Р 21.1101-2013.
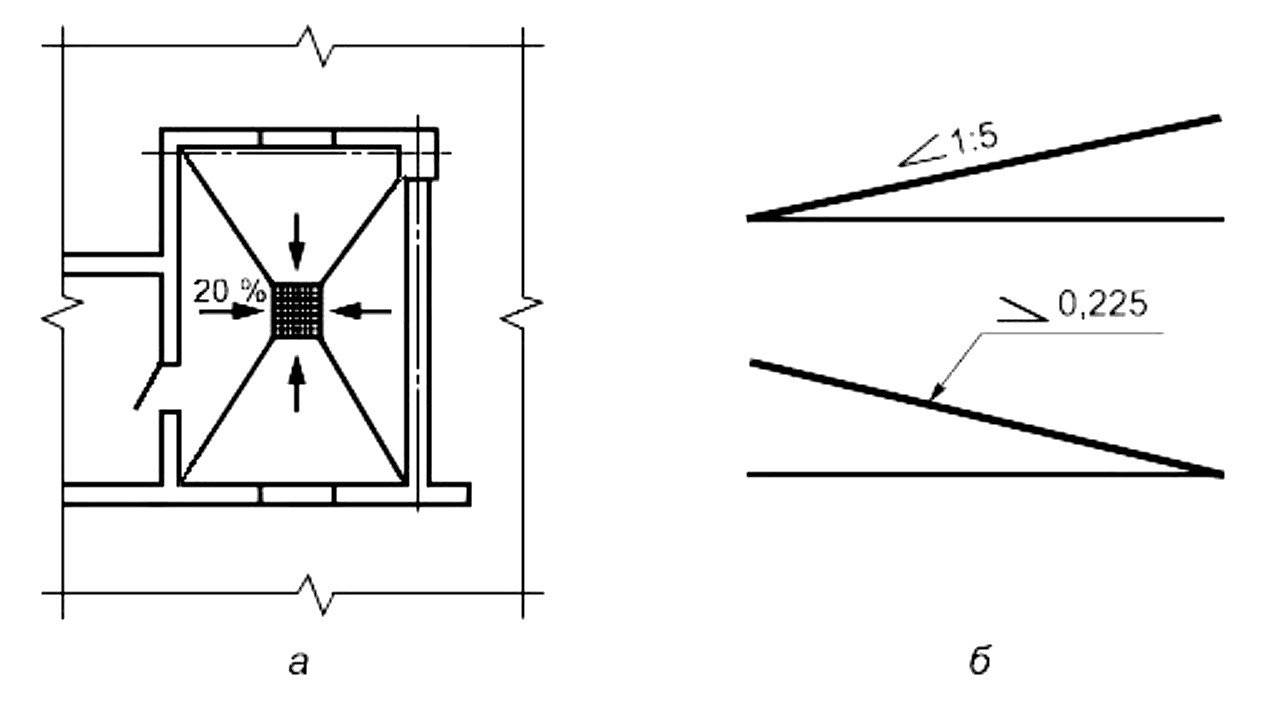
5.4 Нанесение размеров, уклонов, отметок и надписей
5.4.1 Линейные размеры на чертежах указывают без обозначения единиц длины:
- в метрах с точностью до двух знаков после запятой — на чертежах наружных сетей и коммуникаций, генерального плана и транспорта, за исключением случаев, оговоренных в соответствующих стандартах СПДС;
- в миллиметрах — на всех остальных видах чертежей.
5.4.2 Размерную линию на ее пересечении с выносными линиями, линиями контура или осевыми линиями ограничивают засечками длиной 2-4 мм, наносимыми с наклоном вправо под углом 45° к размерной линии, при этом размерные линии продолжают за крайние выносные линии (или соответственно за контурные или осевые) на 0-3 мм.
При нанесении размера диаметра или радиуса внутри окружности, а также углового размера размерную линию ограничивают стрелками. Стрелки применяют также при нанесении размеров радиусов и внутренних скруглений.
При нанесении размеров на аксонометрических схемах технологических трубопроводов и инженерных систем размерные линии допускается ограничивать стрелками.
5.4.3 Отметки уровней (высоты, глубины) элементов конструкций, оборудования, трубопроводов, воздуховодов и др. от уровня отсчета (условной «нулевой» отметки) указывают в метрах без обозначения единицы длины с тремя десятичными знаками, отделенными от целого числа запятой, за исключением случаев, оговоренных в соответствующих стандартах СПДС.
Отметки уровней на фасадах, разрезах и сечениях помещают на выносных линиях (или на линиях контура) и обозначают знаком ««, выполненным сплошными тонкими линиями с длиной штрихов 2-4 мм под углом 45° к выносной линии или линии контура, в соответствии с рисунком 5; на планах — в прямоугольнике в соответствии с рисунком 6, за исключением случаев, оговоренных в соответствующих стандартах СПДС.
  Рисунок 5
Рисунок 5 Рисунок 6
Рисунок 6
«Нулевую» отметку, принимаемую, как правило, для поверхности какого-либо элемента конструкций здания или сооружения, расположенного вблизи планировочной поверхности земли, указывают без знака; относительные отметки выше нулевой указывают со знаком «+», ниже нулевой — со знаком «-«.
Примечание — В качестве нулевой отметки для зданий принимают, как правило, уровень чистого пола первого этажа.
5.4.4 На планах направление уклона плоскостей указывают стрелкой, над которой при необходимости проставляют числовое значение уклона в процентах в соответствии с рисунком 7а или в виде отношения единицы высоты плоскости к соответствующей горизонтальной проекции (например, 1:7).
  Рисунок 7
Рисунок 7
Допускается числовое значение уклона указывать в промилле или в виде десятичной дроби с точностью до третьего знака.
На разрезах, сечениях и схемах перед размерным числом, определяющим числовое значение уклона, наносят знак » «, острый угол которого должен быть направлен в сторону уклона (кроме крутизны откосов насыпей и выемок). Обозначение уклона наносят непосредственно над линией контура или на полке линии-выноски в соответствии с рисунком 7б.
Посудин а теория правильной ложи или изготовление ложи своими руками
Увы, это не геройская
заслуга двух действующих модераторов раздела, ранее сделавших всё для того, чтобы ложевые темы с моим участием были закрыты, а меня в разделе не было.
ЭТО РЕШЕНИЕ ВЛАДЕЛЬЦА САЙТА GUNS.RU.
Теперь старожилы раздела и многочисленные новички, появившиеся здесь за время моего отсутствия, снова смогут получать профессиональные консультации в части доведения лож своих ружей до совершенного уровня.
Искренне ваш Александр Посудин ака «Константиныч».
Мой мобильный отзывается по набранному номеру 8-915-298-01-23 с 11-00 до 18-00 кроме выходных дней, праздников и времени, когда я на охоте.
Алексей, уверяю вас, в этом прикладе нет косослоя.
А, памятуя тот факт: ИЗ КАКОГО ПО КАЧЕСТВУ механических характеристик ореха был сделан этот приклад, он будет служить владельцу верой и правдой столько же, сколько будет служить «железо» ружья. За базар отвечаю.
Всё дело в личных ощущениях стрелка из-за, не побоюсь этого слова, таки ФАНТАСТИЧЕСКОЙ (. ) развесовки и балансировки этого аппарата. С «Браунингами» это делать всегда очень непросто по причине их мощнейшего баланса НА СТВОЛЫ в заводском исполнении, но всё равно возможно.
Должен сказать, что это была чрезвычайно сложная работа, но я со стрелком с ней справился!
Выходит, что я не ошибся с формой и настройками.
Красота. Браво Константиныч!! Жги ещё
— Он держал кисть на рукоятке очень низко таким образом, что плоскость контакта внутренних частей вторых фаланг его трёх пальцев (среднего, безымянного и мизинца) была расположена ПЕРПЕНДИКУЛЯРНО осям стволов. — Он в конце вкладки держал локоть на уровне верхней части плеча. — Он вкладывал торец приклада практически в край правой части грудной мышцы. — Линия прицеливания при завершении вкладки располагалась в 14 миллиметрах над поверхностью прицельной планки. — Зона касания щеки с гребнем находилась рядом с передним концом регулируемого гребя, отчего на стоковый гребень он вынужденноприклеил удлиняющую его насадку.

































